什么是SSL證書?SSL證書的優勢?SSL證書價格參考
發布日期:2025-02-06 訪問次數:
什么是SSL證書?
首先說明SSL(安全套接層,Secure Sockets Layer)是一種安全協議,目的是為互聯網通信,提供安全及數據完整性保障。SSL證書遵循SSL協議,可安裝在服務器上,實現數據傳輸加密。
首先說明SSL(安全套接層,Secure Sockets Layer)是一種安全協議,目的是為互聯網通信,提供安全及數據完整性保障。SSL證書遵循SSL協議,可安裝在服務器上,實現數據傳輸加密。
CA(數字證書認證,Certificate Authority)機構,是承擔公鑰合法性檢驗的第三方權威機構,負責指定政策、步驟來驗證用戶的身份,并對SSL證書進行簽名,確保證書持有者的身份和公鑰的所有權。CA機構為每個使用公開密鑰的用戶發放一個SSL證書,SSL證書的作用是證明證書中列出的個人/企業合法擁有證書中列出的公開密鑰。CA機構的數字簽名使得攻擊者不能偽造和篡改證書。
SSL證書實際上就是CA機構對用戶公鑰的認證,內容包括電子簽證機關的信息、公鑰用戶信息、公鑰、權威機構的簽字和有效期等。
SSL(HTTPS)證書的優勢?
基于 SSL 證書,可將站點由 HTTP(Hypertext Transfer Protocol)切換到 HTTPS(Hyper Text Transfer Protocol over Secure Socket Layer)—— 即基于安全套接字層(SSL)進行安全數據傳輸的加密版 HTTP協議。
站點應用 HTTPS 后將有以下優勢:
1、防流量劫持
全站 HTTPS 是根治運營商、中間人流量劫持的解決方案,不僅可以杜絕網頁中被插入的小廣告,更可以保護用戶隱私安全。
2、提升搜索排名
采用 HTTPS 可以幫忙搜索排名的提升,提高站點的可信度和品牌形象。
3、杜絕釣魚網站
HTTPS 地址欄綠色圖標可以幫助用戶識別出釣魚網站,保障用戶和企業的利益不受損害,增強用戶信任。
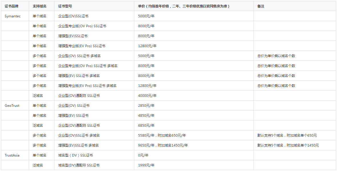
SSL證書價格參考:
需要注意的是:
單個域名即只支持綁定1個域名,可以是二級域名example.domain.com,也可以是三級域名example.example.domain.com,或者是一級域名domain.com,均可以支持,但不支持一級域名下的所有子域名。域名級數最多可以支持100級。
多個域名即單個證書可以綁定多個域名,最多可以支持綁定100個。
泛域名即支持綁定一個且只有一個泛域名,泛域名至允許添加一個通配符,例如*.domain.com,*.example.domain.com , 最多支持100級;*.*.domain.com 多個通配符的泛域名是不支持的。



掃描添加好友
免費提供:網站建設、網絡推廣解決方案
已幫助
人
人
您的鼓勵是站長的最大動力
轉載請注明來自:http://www.shebaobj.com.cn/news/3275.html















